宇树机器人春晚出圈,从人形机器人到智能机器人还有多远
作者 | 唐磊 广东知恒(佛山)律师事务所知产部主任、股权高级合伙人
宇树机器人在春晚上又火了一把,相对于去年的扭秧歌,今年的机器人复杂的武术动作、单腿后空翻三连、两步蹬墙后空翻、花式翻桌跑酷等,动作的灵活及稳定程度都让人眼前一亮。从 “队列表演” 到 “人机共武”也体现了协调能力的提升,确实十分“出圈”。
“Unitree宇树”微信公众号在2026年2月16日发表了一篇文章《以武会春,宇树春晚机器人马年秀出“赛博真功夫”》,阅读量已经达到10万+,用图文的形式对于两款机器人的核心特点进行了介绍:




老规矩,先来看看宇树科技的专利申请情况:
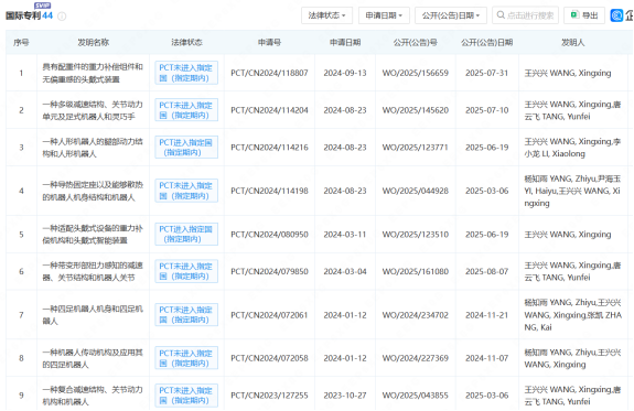
第一部分、宇树科技股份有限公司的专利布局情况
在企查查上查询“宇树科技股份有限公司”(2025年10月23日前工商登记名称为‘杭州宇树科技股份有限公司’ ,后文中有部分专利的登记信息尚未完成变更)显示截止目前已公开的专利申请数量为194件,已经有20件发明授权。其发明专利的授权时间较快,超过20件发明专利不到半年便获得授权;相比一般发明专利2-3年的授权周期短了非常多。
从宇树公司的专利数据上能够反映出如下特点:
一、专利主题围绕核心技术“灵巧手、激光雷达、交互控制方法、传感器”等主题;既有算法、也有服务器、机器人部件及整体等。



(图片来自:企查查)
二、部分发明专利授权快、不到半年就获得了授权。

(图片来自:企查查)
以CN202511471499.9号“一种基于扩散策略的机器人交互控制方法和服务器”专利为例:2025年10月15日提交发明专利申请并提交实质审查申请书,2025年11月18日、11月19日分别进行了一次审查意见陈述及修改权利要求书。2025年11月21日即获得了授权通知。应该是申请了优先审查或预审通道,审查状态如下:




(图片来自:中国及多国专利审查信息查询平台)
三、具有一定量的国际专利申请,时间集中在2024年及之前

(图片来自:欧专局,‘HANGZHOU YUSHU TECHNOLOGY CO.,’为该公司曾用名)

(图片来自:企查查)
本文所称的“智能机器人”并非法定/标准化概念,目前还没有对此的官方权威定义,毕竟“智能”这个概念是没有上限的。为了方便理解,是朴素意义上对于“高度智能化机器人”的形象代称,比如下文的其他机器人生产企业在市场中提到的发展目标。
也有观点提出“人形机器人”本身已经是“智能机器人”的高级形态,这个观点笔者是不认同的。毕竟“人形”是以外观形体来进行命名的,是一种可见的物理状态;而“智能”是各种复杂主观感受的集合。
第二部分、人形机器人智能化分级标准
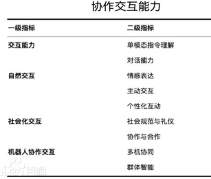
2025年5月,全球首个《人形机器人智能化分级》(T/CIE 298-2025)团体标准在中国电子学会正式发布,该标准提出了“四维五级”的评价框架。
由于该团体标准在“全国标准信息公共服务平台”上显示为“标准文件-不公开”,目前根据央视网、新浪财经、百度百科等权威媒体公开信息披露的主要内容有:
通过借鉴自动驾驶、工业机器人等分级逻辑,并针对人形机器人的特殊性进行了创新,构建形成“四维五级”的评价框架。包括“感知认知(P)、决策学习(D)、执行表现(E)、协作交互(C)”为核心的四大能力维度,对四大能力维度给出了22项一级指标、及各自能力维度的核心能力描述,构建 L1-L5 (这5个等级明细暂未找到公开文献)五级智能化能力分级体系。







(图片来源:百度百科)

(图片来源:央视网)
宇树公司的人形机器人在这22项一级指标中能获得多少分、属于 L1-L5 中具体哪个等级尚且不知;但从“核心能力描述”字面通俗理解来看,应该是未达到能力分级中的中或高级别。毕竟在“P感知认知能力”描述中“跨领域认知、自主知识构建”,“D决策学习能力”描述中“知识迁移、自我演进”,“C协作交互能力”描述中“情绪识别、个人性交互、群体协同”等尚未得到实测验证。在春晚上表演的人形机器人只能说基本是根据预设的程序来完成动作即可,并没有太多上述的“个性化交互”与“群体协同”的功能。
很多人认为,人形机器人的应用场景,其实无非就是工业、商业服务、家庭三个场景。
目前在春晚表演的人形机器人虽然动作复杂及精细程度让人惊艳了一把。但如果到工业生产、医疗康养等情况,情况却复杂的多。
第一、在“工业、商业服务、家庭”场景中,环境的复杂程度远比舞台或展厅高的多
工业场景中存在复杂的机械结构、不同类型的设备和多变的工作流程。商业服务场景中人流量大,空间布局多变,还有复杂的道路交通情况等。家庭场景中存在大量不规则、软质、会连续形变的物体,如毛巾、衣物、杯子等;对待婴儿跟儿童、成人、宠物的情况都不相同。
1、来看看获得吉尼斯世界记录的国产智元“远征机器人A2”:



(图片来自:新浪财经)
2025年11月20日,权威媒体报道了智元公司旗下远征A2人形机器人近日完成了从苏州金鸡湖至上海外滩的跨省行走挑战,全程达106.286公里,一路穿越市区街道、国道省道等复杂地形,沿途没有摔一跤,严格遵守交通规则。后获得吉尼斯世界纪录认证,成为全球首台实现百公里行走的人形机器人。智元机器人公司称,远征A2机器人是专为客户服务岗位设计的,并配备有聊天功能和唇语识别能力。
2、特斯拉2026年第一季度财报会上宣布即将亮相的“Optimus Gen 3”也一直备受关注:



(图片来自:特斯拉官方微博视频号)
网上还有大量媒体转发“美国植物基制药企业PharmAGRI与特斯拉签署意向书,计划在自营农场和处方药生产环节部署多达1万台Optimus Gen3+人形机器人”一事的报道,被辟谣为假消息。
特斯拉官方微博视频号还发布了“特斯拉人形机器人2025年度报告”,称在北美地区进行了大量的实测,其人形机器人除了学会了各种跳舞、会与人打功夫在电影首映礼上进行了表演,还在Tesla Diner上卖爆米花、在股东大会上教大家投票




(图片来自:特斯拉官方微博视频号)
Optimus已经更新迭代了多次,2022年10月,在特斯拉AI Day上,Optimus原型机首次亮相。其搭载的第一代灵巧手,基本确立了特斯拉的技术路线——仿生与实用并重。
有媒体称,Optimus3的70%以上执行器依赖中国供应链。三花智控、拓普集团、长盈精密等中国企业已成为核心供应商。
第二、真正意义上的“智能机器人”核心不在于“避让”,而是“互动”
表演的机器人主要还是各自完成自己的动作,并且避让其他机器人/人。而在工业、商业、家庭场景中,智能机器人要做的就不是“避让他人”而是与他人进行互动、与人/其他物体一并完成一系列活动,成为真正的“智能管家”。
表演类的人形机器人多为预设程序或遥控操作,难以自主与人互动。
当然“互动”包含了很多内容,“安全”与“理解”是前提。
来看看“波士顿动力Atlas”
2026年1月6日,拉斯维加斯CES展会现场,波士顿动力正式发布新一代全电动Atlas人形机器人。其身高约1.9米、体重90公斤,全身拥有56个自由度,最大负载约50公斤。
在展会现场播放的演示视频中,新一代Atlas走进了车间,有条不紊地开展电池更换、零件分拣、物料搬运等一系列工业任务。没有激昂的配乐,没有令人屏息的空翻,只有如流水线工人般稳定、从容的操作节奏。



(图片来自:波士顿动力)
第三、具有持续学习、自我更新的能力是对智能机器人超强大脑的终极考验
持续学习、自我更新,是把机器人从 “精密机器” 变成 “真正智能体” 的最后、也是最难的一道关,是对超强大脑的终极考验;对机器人的芯片、算法、存储等都是很大的挑战。
真实世界里的机器人远没有影视作品中那么早能够实现上述目标,当然人类也担心如果机器人自我更新进化的太快,在智力与体力、续航上都是对人类的碾压。
波士顿动力公司称Atlas可以通过公司的Orbit平台快速复制作业能力,任何一台Atlas学会的新技能,都能通过该平台同步给其他机器人。据悉,大多数任务一天内就可以完成培训。
早期人形机器人领域的竞争主要集中在单点技术突破,比拼谁的步态更稳、动作更炫。今天的竞争,已经发展为全栈技术能力、完整产业生态与可持续商业模式的全方位对抗。有人说:“技术炫酷只是第一步,真正的革命在于规模化量产。”深以为是。
埃隆·马斯克说:人形机器人需要一双极其灵巧的手、一个聪明的大脑、能实现大规模量产,这是全行业的三大挑战。
期待人形机器人的发展为人类带来更多福音。

引用:
1、焦点访谈丨从“听懂话”到“会做事” 我国AI应用向纵深演进https://baijiahao.baidu.com/s?id=1857653537295200748&wfr=spider&for=pc。
2、新浪财经:智元远征A2全球首次人形机器人百公里行走 获吉尼斯世界记录
https://baijiahao.baidu.com/s?id=1849315730748309487&wfr=spider&for=pc
3、东方财富网:指尖上的革命:赛福天解码特斯拉Optimus灵巧手的进化之路
https://caifuhao.eastmoney.com/news/20260113103230101197980


















